Launched in 2012, the Galaxy Beam was Samsung's first smartphone with a built-in projector. In an intriguing move, the South Korean tech giant is now planning to incorporate a projector into a smartwatch. So let's see what Samsung is planning by mixing the projector and smartwatch together.
What's more! Samsung might also allow the option of projecting content other than what is displayed on the main screen, similar to how a secondary monitor works. Furthermore, the patent image depicts a watch with a square dial rather than the Galaxy Watch's circular dial.
Samsung's Projector Smartwatch:
Samsung undoubtedly makes one of the best smartwatches in the industry. Its latest offering Galaxy Watch 5 Series brings quite a few improvements over its predecessor. The company is now looking to step up its wearable game with a smartwatch that features a built-in projector. The smartwatch was recently discovered in a patent titled "Wearable Electronic Device Including Projection Display." And the published schematics give us a rough idea about Samsung's next take on wearables.
- Also read:
Projector on the wrist!
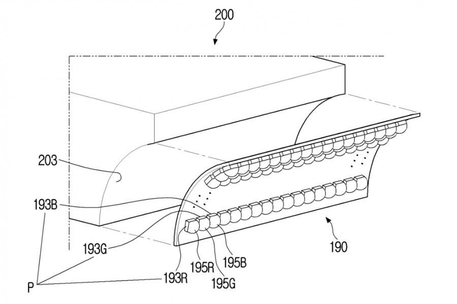
Based on the patents, the wearable could project images onto the back of your hands. For this, Samsung will use an array of lenses and LED emitters arranged at an angle to project a larger view of the smartwatch display. Interestingly, users will be able to control the luminance and focal length just like a real projector. And Samsung may introduce functionality that allows the LED to intelligently tilt clockwise or anti-clockwise depending on the detected angle of the intended surface.
Samsung's Projector Smartwatch: Availability
For the time being, we do not know whether the next Galaxy Watch will include a projector or if Samsung will launch a completely new Watch series. However, the patent does seem quite interesting.- Meanwhile, check our review of Galaxy Watch 5 and 5 Pro.
Article Last updated: February 20, 2023








